- 1Tiêu chuẩn Việt Nam TCVN 4149:1985 về Fero Silic - Yêu cầu chung đối với phân tích hóa học do Ủy ban Khoa học và Kỹ thuật Nhà nước ban hành
- 2Tiêu chuẩn Việt Nam TCVN 1821:1976 về Gang thép - Phương pháp phân tích hóa học - Xác định hàm lượng cacbon tổng số do Ủy ban Khoa học và Kỹ thuật Nhà nước ban hành
Ferrosilicon
Methods for determination of carbon
Tiêu chuẩn này quy định phương pháp thể tích khí xác định cacbon trong ferosilic (khi hàm lượng cacbon từ 0,20 đến 2,0%).
Khi xác định cacbon trong ferosilic phải tuân theo những yêu cầu chung trong TCVN 4149 - 85
Đốt mẫu trong dòng khí oxy ở nhiệt độ 1350 - 1400oC hấp thụ khí cacbonic tạo thành bằng dung dịch kali hidroxit. Hàm lượng cacbon tính theo hiệu thể tích trước và sau khi hấp thụ.
3. THIẾT BỊ, HÓA CHẤT VÀ DUNG DỊCH
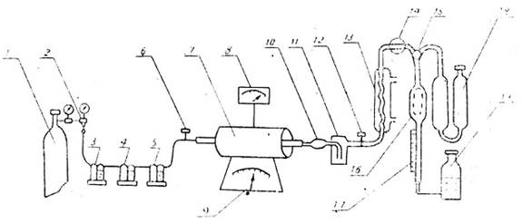
Thiết bị xác định cacbon (xem sơ đồ)
Ống sứ không tráng men, dài 650 - 700mm đường kính trong 18 - 20 mm.
Ống sứ mới trước khi đem sử dụng phải được nung trước suốt chiều dài ống ở 1350 - 1400oC.
Thuyền sứ không tráng men đã nung trước trong khí oxy ở 1350 - 1400oC, bảo quản trong bình hút ẩm..
Kali hydroxit, dung dịch 40%.
Kali pemanganat, dung dịch 4% trong dung dịch kali hidroxit 40%.
Bari hidroxit, dung dịch 5%.
Axit sunfuric d 1,84.
Kali dicromat, dung dịch 15% trong axit sunfuric.
Metyl da cam, dung dịch 0,1%.
Natri clorua, dung dịch 20% được axit hóa bằng axit sunfuric theo chỉ thị metyl da cam.
Chất chảy: đồng axit dạng bột, viên hay phoi, được nung trước 4 - 5 giờ ở 800oC. Hàm lượng cacbon trong chất chảy không được vượt quá 0,005%.
Dây móc thuyền sứ bằng hợp kim chịu nhiệt, dài 400 - 450 mm, đường kính 3 - 4mm

Sơ đồ thiết bị xác định cacbon
1. Bình oxy
2. Đồng hồ và van điều chỉnh áp suất hoặc bình giảm áp
3. Bình rửa khí chứa dung dịch kali pemanganat.
4. Bình rửa khí chứa dung dịch bari hidroxit.
5. Bình rửa khí chứa axit sunfuric 1,84.
6. 12. Khóa 2 nhánh.
7. Cặp nhiệt điện và đồng hồ đo nhiệt.
8. Lò ống nằm ngang được đốt nóng bằng thanh cacbon silic đến 1400oC.
9. Biến thế điện điều chỉnh điện áp vào lò.
10. Ống có bầu hình cầu chứa bằng thủy tinh.
11. Bình rửa chứa dung dịch kali dicromat.
13. Ống làm lạnh.
14. 15. Khóa 3 nhánh.
16. Buret đo khí
17. Thang đo khắc độ đến 1,5%
18. Bình hấp thụ chứa dung dịch kali hidroxit.
19. Bình cân bằng chứa dung dịch natri clorua.
Trước hết kiểm tra độ kín của các mối nối và các khóa. Để khóa 14, 15 ở vị trí sao cho bình đo khí thông với không khí. Nâng bình cân bằng lên cho đến khi bình đo khí chứa đầy dung dịch natri clorua rồi xoay khóa 15 sang vị trí thông bình đo khí với bình hấp thụ. Hạ bình cân bằng xuống dung dịch sẽ chảy từ buret về bình cân bằng. Khi van nối của bình hấp thụ đóng lại thì xoay khóa 15 về vị trí không buret với không khí. Nâng bình cân bằng lên để đẩy hết không khí ra khỏi buret. Đóng khóa 15 lại. Hạ bình cân bằng xuống. Trường hợp ngược lại, phải tháo gỡ, lau chùi, bôi trơn lại các khóa, lắp và kiểm tra lại thiết bị. Sau đó tiến hành lấy mực thăng bằng giữa bình cân bằng và buret đo khí bằng cách đặt bình cân bằng ở đế giá dưới, xoay khóa 14, 15 về vị trí không buret đo khí với không khí, xê dịch thang chia độ sao cho vạch 0 của thang nằm thẳng hàng với mực dung dịch trong bình cân bằng và buret đo khí.
Để kiểm tra xem máy đã ổn định chưa phải đốt hai, ba mẫu tiêu chuẩn ferosilic có hàm lượng cacbon đã biết.
Rải đều 1g (khi hàm lượng cacbon từ 0,2 đến 1,3%) hay 0,5 g Ferosilic (khi hàm lượng cacbon trên 1,3g%) lên thuyền sứ, phủ lên 2g chất chảy rồi cẩn thận đảo đều bằng đầu dây đồng hay dây nhôm. Đưa thuyền sứ vào vùng ống sứ nóng nhất đã được nung đến 1350 - 1400oC. Đậy ngay nút cao su lại. Đặt bình cân bằng ở đế giá trên. Mở khóa 6 để không khí oxy vào ống sứ. Sau 45 giây đến 1 phút, mở khóa 14, 15 từ từ cho hỗn hợp khí tràn vào buret, đo khí với tốc độ tăng dần sao cho thời gian hỗn hợp khí choán đầy bầu to của buret đo khí là 5 - 6 phút, khi mực dung dịch trong buret hạ thấp đến khoảng vạch 0,02 hay 0 của thang đo thì đóng khóa 15 lại, tháo nút cao su và lấy thuyền sứ ra khỏi ống sứ.
Đặt bình cân bằng xuống để giá dưới. Xoay khóa 15, thông buret đo khí với không khí để đạt tới cân bằng áp suất hỗn hợp khí trong buret và khí quyển rồi lại xoay về vị trí đóng. Nếu mực dung dịch trong bình cân bằng, buret đo khí và vạch 0 của thang chia độ không thăng bằng thì điều chỉnh lại bằng cách xê dịch thang chia độ theo chiều lên xuống.
Xoay khóa 15 về vị trí thông buret với bình hấp thụ. Nâng bình cân bằng lên để dồn hỗn hợp khí sang bình hấp thụ, chú ý quan sát không để sót bọt khí nào bám vào thành buret. Hạ bình cân bằng để hỗn hợp khí dồn trở lại buret. Lặp lại sự hấp thụ khí cacbonic 2 lần nữa. Đóng khóa 15 lại. Sau khoảng 15 - 20 giây lấy lại mực thăng bằng dung dịch trong buret và bình cân bằng. Ghi chỉ số thang đo, đồng thời ghi nhiệt độ hỗn hợp khí và áp suất khí quyển.
6.1. Hàm lượng cacbon (C), tính bằng phần trăm, theo công thức:
,
trong đó:
A - chỉ số thang đo của buret, tương ứng với hàm lượng cacbon trong mẫu phân tích ở điều kiện thí nghiệm, %;
B - chỉ số thang đo của buret, tương ứng với hàm lượng cacbon trong chất chảy, %;
K - hệ số hiệu chỉnh theo nhiệt độ và áp suất phụ thuộc vào nhiệt độ kiểm định buret đo khí được tra cứu ở các bảng 1 và 2 phần phụ lục TCVN 1821 - 76.
6.2. Bảng sai lệch giới hạn.
%
| Hàm lượng cacbon | Sai lệch tuyệt đối giới hạn | |||
| Từ | 0,20 | đến | 0,50 | 0,03 |
| Trên | 0,50 | ” | 1,00 | 0,04 |
| ” | 1,00 | ” | 2,00 | 0,05 |
- 1Tiêu chuẩn Việt Nam TCVN 4150:1985 về Fero Silic - Phương pháp xác định silic
- 2Tiêu chuẩn Việt Nam TCVN 4152:1985 về Ferosilic - Phương pháp xác định lưu huỳnh
- 3Tiêu chuẩn Việt Nam TCVN 4153:1985 về Ferosilic - Phương pháp xác định photpho
- 4Tiêu chuẩn Việt Nam TCVN 4154:1985 về Ferosilic - Phương pháp xác định mangan
- 5Tiêu chuẩn Việt Nam TCVN 4155:1985 về Ferosilic - Phương pháp xác định crom
- 6Tiêu chuẩn Việt Nam TCVN 4156:1985 về Ferosilic - Phương pháp xác định tổng nhôm
- 7Tiêu chuẩn Việt Nam TCVN 4157:1985 về Ferosilic - Phương pháp xác định canxi
- 8Tiêu chuẩn Việt Nam TCVN 4158:1985 về Ferosilic - Phương pháp xác định titan
- 1Quyết định 2919/QĐ-BKHCN năm 2008 công bố tiêu chuẩn quốc gia do Bộ trưởng Bộ Khoa học và Công nghệ ban hành
- 2Tiêu chuẩn Việt Nam TCVN 4149:1985 về Fero Silic - Yêu cầu chung đối với phân tích hóa học do Ủy ban Khoa học và Kỹ thuật Nhà nước ban hành
- 3Tiêu chuẩn Việt Nam TCVN 4150:1985 về Fero Silic - Phương pháp xác định silic
- 4Tiêu chuẩn Việt Nam TCVN 4152:1985 về Ferosilic - Phương pháp xác định lưu huỳnh
- 5Tiêu chuẩn Việt Nam TCVN 4153:1985 về Ferosilic - Phương pháp xác định photpho
- 6Tiêu chuẩn Việt Nam TCVN 4154:1985 về Ferosilic - Phương pháp xác định mangan
- 7Tiêu chuẩn Việt Nam TCVN 4155:1985 về Ferosilic - Phương pháp xác định crom
- 8Tiêu chuẩn Việt Nam TCVN 4156:1985 về Ferosilic - Phương pháp xác định tổng nhôm
- 9Tiêu chuẩn Việt Nam TCVN 4157:1985 về Ferosilic - Phương pháp xác định canxi
- 10Tiêu chuẩn Việt Nam TCVN 4158:1985 về Ferosilic - Phương pháp xác định titan
- 11Tiêu chuẩn Việt Nam TCVN 1821:1976 về Gang thép - Phương pháp phân tích hóa học - Xác định hàm lượng cacbon tổng số do Ủy ban Khoa học và Kỹ thuật Nhà nước ban hành
Tiêu chuẩn Việt Nam TCVN 4151:1985 về Fero Silic - Phương pháp xác định cacbon
- Số hiệu: TCVN4151:1985
- Loại văn bản: Tiêu chuẩn Việt Nam
- Ngày ban hành: 01/01/1985
- Nơi ban hành: ***
- Người ký: ***
- Ngày công báo: Đang cập nhật
- Số công báo: Đang cập nhật
- Ngày hiệu lực: 26/01/2026
- Tình trạng hiệu lực: Còn hiệu lực
